Er du blant dem som lar husarbeid være husarbeid når solen titter frem, og slenger deg ned på en solseng med en god bok i stedet? Bor man i Norge er soldagene herlige, etterlengtede pusterom, og bør absolutt utnyttes til det fulle. Og hva er vel da bedre enn å slenge seg på en stilren og lekker solseng i ekte MøreRoyal® noen timer? Det fortjener du så absolutt! Sjekk ut vår enkle oppskrift på solseng, så er du snart klar til å nyte livet på terrassen ved neste solgløtt.





Slik gjør du det
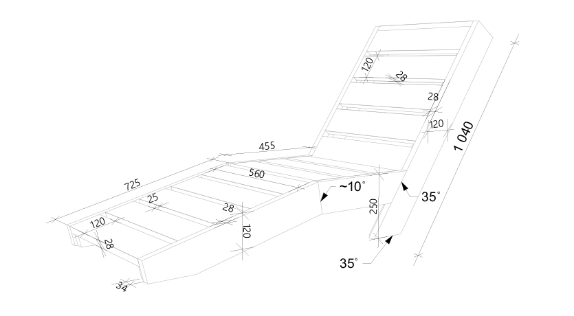
Kapp 2stk 34×70-lekter til 71,5cm lengde til sidevanger på fothvilen.
Kapp 2stk 34×70-lekter til 46cm lengde til sidevanger på setet.
Kapp 8stk terrassebord til 56cm lengde.
Lektene på 46cm skråkappes 35º i en ende.
Lektene på 71,5cm skråkappes ca.14º i en ende. Deretter monteres den skråkappede enden mot den rette enden av 46cm-lekten. Slik får du to sidevanger til sete med fothvile.
Vangene til fothvilen skråkappes ned mot underlaget, parallelt med setet som skal være horisontalt. Tilpass vinkelmålet «på stedet».
Skru fast de 8 terrassebordene med ca.2,5cm mellomrom på oversiden av lektene slik at ytterkant lekter og endene på terrassebordene flukter.
Kapp 1stk 34×70-lekt til 49,2cm lengde og skru fast under et av de nederste terrassebordene på fothvilen for bedre stabilitet.
Kapp 1stk 34×45-lekt til 31cm lengde og skru fast på innsiden av sidevangene for å forsterke sammenføyningen mellom setet og fothvilen.
Kapp 2stk 34×70-lekter til 99cm lengde til sidevanger i ryggstøtten. Skråkapp lektene til 35º i en ende.
Kapp 2stk 34×70-lekter til 49,2cm lengde.
Skru fast en 34×70-lekt mellom sidenvangene ved de rette endene og skru fast den andre 34×45-lekten mellom sidevangene ca.19cm fra de skråkappede endene.
Kapp 5stk terrassebord til 56cm lengde.
Skru fast terrassebordene med ca.2,5cm mellomrom på oversiden av lektene slik at ytterkant lekter og endene på terrassebordene flukter.
Skru sammen ryggstøtten og setet/fothvilen slik at setet blir horisontalt.
Forsterk sammenføyningen mellom ryggstøtten og setet med en 11-12cm lang bit av en 34×45-lekte festet på innsiden av vangene.
Kapp 2stk terrassebord til 104cm lengde. Skråkapp disse 35º i en ende.
Kapp 2stk terrassebord til 45,5cm lengde. Skråkapp disse 35º i en ende og ca.10º i andre enden.
Kapp 2stk terrassebord til 72,5cm lengde. Skråkapp disse ca.10º i en ende.
Terrassebordene monteres på utsiden av sidevangene slik at de dekker endeflatene på terrassebordene som ligger på fothvilen, setet og ryggstøtten.
Skråkapp terrassebordene på utsiden av fothvilen, ned mot underlaget.
Kapp 1stk terrassebord til 49,2cm lengde og skru fast på toppen av ryggstøtten.
Husk å olje alle kappender underveis, samt å bruke rustfrie A2 eller syrefaste A4-skruer.
Tegninger


Materialer
| Produkt | Antall | Dim | Lengde |
| Concise Lekter | 2 | 34×70 | 71,5 cm |
| Concise Lekter | 2 | 34×70 | 46 cm |
| Concise Terrassebord | 13 | 28×120 | 56 cm |
| Concise Lekter | 3 | 34×70 | 49,2 cm |
| Concise Lekt | 1 | 34×45 | 31 cm |
| Concise Lekter | 2 | 34×70 | 99 cm |
| Concise Terrassebord | 2 | 28×120 | 104 cm |
| Concise Terrassebord | 2 | 28×120 | 45,5 cm |
| Concise Terrassebord | 2 | 28×120 | 72,5 cm |
| Concise Terrassebord | 1 | 28×120 | 49,2 cm |

Concise lekter

Concise terrassebord
Løsolje kan forekomme, spesielt på høvlede flater. Dette er en tørkende olje, som fort vil tørke ut, men kan også fjernes med en klut dynket i WhiteSpirit. Større oljeansamlinger bør tørkes bort. Vi anbefaler bruk av sitteundelag til all olje har trukket inn i trevirket, for å unngå smitting på klær.
MøreRoyal® er førsteklasses, ferdig behandlede materialer klare til bruk. Materialene innehar unike egenskaper som er ideelle for deg som ikke ønsker å bruke tid og energi på vedlikehold. Materialene kan nemlig fint stå i 10-20 år før de trenger noen form for etterbehandling.
Husk likevel at tre er et levende materiale som påvirkes av omgivelsene. Sol, varme, vind, nedbør og fukt gjør at trevirket vil endre seg over tid. Det blir derfor en individuell vurdering når man ønsker å etterbehandle av kosmetiske hensyn.
Ved alle former for vedlikehold benyttes våre MøreRoyal® Treoljer.